

|
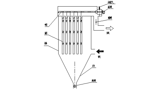
簡介: 低壓長袋脈沖技術綜合了反吹風袋收塵器與氣箱脈沖袋收塵器的優點,克服了二者不足,又_克服了傳統管式脈沖噴吹的缺點。該收塵器濾袋長 低壓長袋脈沖技術在我國水泥各行業近兩年發展較快,它綜合了反吹風袋收塵器與氣箱脈沖袋收塵器的優點,克服了二者的不足,做為新一代脈沖技術又_克服了傳統管式脈沖噴吹的缺點。該收塵器濾袋長 LMC低壓長袋脈沖袋收塵器的主要特點 一、清灰方式與參數 LMC袋收塵器由箱體、灰斗、濾袋、袋籠、文丘里管,脈沖清灰系統及進出風管、切換閥等組成。它的工作原理如圖一所示。含塵氣體進入進風管后折下灰斗上升至濾袋過濾。粗顆粒*慣性落入灰斗底部,細粉塵被阻留在濾袋外表面。過濾后的氣體通過各濾袋匯集到凈氣室,經出風管、風機排入大氣。隨著過濾過程不斷進行,濾袋外表層積塵逐漸增多、增厚,這時需要對濾袋進行清灰。PC機控制儀發出信號,對每單元逐個清灰(每單元濾袋分數組,每組12條)壓縮空氣經脈沖閥,噴管、文丘里進入濾袋,使濾袋膨脹,震動,達到清灰目的。
LMC袋收塵器的脈沖噴吹屬于強力清灰。當脈沖氣流噴射時,瞬間高壓空氣由于文丘里管誘導作用而抽吸周圍高于本身五倍的二次氣流沖入濾袋。所產生的壓力對濾袋作用時加載速度_快,由袋口向底端訊速傳遞,引起袋壁及粉塵層的拉伸、壓縮、剪切、使粉塵層破裂、脫落、清灰效果明顯。 1. 文丘里管及脈沖清灰系統 脈沖清灰系統包括脈沖閥、噴管、氣包管。 脈沖閥選用淹沒式,噴吹阻力低,適合低壓噴吹。氣包采用方形氣包,脈沖閥直接安裝在氣包上 2. 脈沖清灰試驗 脈沖清灰系統我們選擇三種方式試驗,根據試驗,確定_脈沖清灰方式。 三種方式性能優、缺點比較: NO1方式: a. _個孔與_后一個孔壓縮空氣氣流量不均,_孔噴吹氣流量_少,主要是其產生引流而造成。 b. 由于氣流的橫向運動所產生的分力使得噴吹方向跑偏。 c. 部分擴引氣流打在花板上,浪費清灰功效。 d. 濾袋上端產生負壓,具有引流,使得濾袋上清灰不凈。濾袋浪費400㎜,從而導致整體過濾面積減少,氣布比提高。 e. 箱體內各濾袋清灰程度不均。 NO2方式: a. 具有二次引流擴大清灰氣量,但在濾袋內所產生清灰度是中間大旁邊?。ㄒ妶D中NO2壓力分布圖) b. 有時可能在濾袋上端產生引流可導致負壓,使得濾袋上部清灰不凈。 c.濾袋浪費400㎜,從而導致整體過濾面積減少,氣布比提高。 d. 濾袋上端產生負壓,平均壽命減短。 結論:清灰效率有所提高,由于氣布比提高,但仍存在壓差阻力大的缺點,且濾袋壽命減短。 NO3方式: a. 具有二次引流,可以解決以上兩種方式產生的缺點。 b. _限度地利用了氣流形成中各段引流。 c.濾袋內壓力分配_,故清灰效果_。 d. 用20%的壓縮空氣導入了花板上80%的干凈氣體,增加了清灰強度。 e. 在同等的清灰效果下,閥門減小,氣包減小。 結論:清灰_,壓差阻力_小,性能價格比_優,由于清灰均勻, 濾袋壽命相對提高。 通過上述三種方案性能比較,選擇第三種脈沖清灰方式。 3. 清灰強度及脈沖閥規格的確定 LMC袋除塵器設計方案為:12條濾袋同用一只脈沖閥,噴吹一次同時滿足12條濾袋的清灰要求。 (1) 12條濾袋在過濾風速 濾袋直徑Ф 處理風量:QA=0.13X3.14X6X12X.0.9X60= 0.15秒時通風量為 (2)不同口徑脈沖閥耗氣量計算 計算公式:QB =CvFg(ASCO公司提供) 式中:QB-噴吹耗氣量ft3/h Cv-流量系數 Fg-脈沖閥在_壓力下的流量ft3/h A:21/2″脈沖閥耗氣量 查表:Cv=106 0.3pMPa時,Fg= QB1=CvFg=106X1800= 脈沖寬度0.15秒時耗氣量 引射氣流量(3倍)0。23X3= 總噴吹量:Q21/2″=0.23+0.69=0.91(m3) B:11/2″脈沖閥耗氣量(壓縮空氣壓力0.3pMPa) 查表:Cv=51 0.3pMPa時,Fg= QB2=CvFg=51X1800= 脈沖寬度0.15秒時耗氣量 引射氣流量(3倍)0.11X3= 總噴吹量:Q11/2″=0.11+0.33=0.44(m3) (3)脈沖閥規格確定 由上述計算:濾袋處理風量QA= 21/2″脈沖閥噴吹量Q21/2″= 11/2″脈沖閥噴吹量Q11/2″= 脈沖閥噴量應為濾袋處理風量2-3倍,才可滿足清灰強度的要求。 依上述計算,11/2″脈沖閥噴吹量是濾袋處理風量的6倍,已_能夠滿足清灰強度要求。因此,選用11/2″脈沖閥。 LMC清灰壓力設計為 LMC低壓脈沖_可以控制細顆粒而沒有噴出現象。它在清灰時需要一個低壓高流量脈沖氣體,與普通高壓低流量不同具有兩個特點: (一)當瞬間濾袋快速膨脹時具有高流量低壓給濾袋提供加速力。 (二)清灰后可控制減緩濾袋返回速度(控制出風閥重新打開時間)實現濾袋清灰后“軟著陸”。 二、濾料的選擇 到八十年代初期,隨著在實際應用中對煙氣粉塵性能的認識,這種單純*溫度來區分濾料的方式已不適應。在水泥工業中,煙氣種類有含濕、含酸、含堿、含爆炸性粉塵,另外在機立窯煙氣、烘干機煙氣及生料粉磨廢氣中,粘結性,_細性,磨啄性等特點也不可忽視。 LMC袋收塵器根據自身的清灰方式以及處理含塵氣體的不同來選擇濾袋的材質。主要選擇玻璃纖維針刺氈和滌綸拒水柜油合纖針刺濾料兩種,現分述如下: (1) 玻璃纖維針刺氈對于溫度較高的含塵氣體,我們選擇玻纖刺氈濾料。玻璃纖維針刺氈濾料是一種結構合理,性能_的新型過濾材料,它不僅具有玻纖濾料_、_等特點,而且由于氈層纖維三維孔結構,孔隙率高,氣體過濾阻力小,除塵效率高。并具有耐曲撓、耐磨損、尺寸穩定、可在
(2) 滌綸拒油合纖針刺濾料 拒水拒油合纖針刺濾料是采用特殊的拒水拒油整理劑加工制成。它使合纖針刺濾料在原來具有過濾阻力低,濾效高特點基礎上,更進一步具有憎水、憎油性特點,使粉塵顆粒在帶有_濕度和油粘性的情況下,仍可以在濾袋表易于_和剝落。該濾料性能優劣與否,是分別根據GB4745-34_標準(紡織表面抗濕性測定方法――沾水試驗方法)和IBW0415-89__標準(涂層織物拒油性能測定方法)來衡量的,前者分為1-5級,后者分為1-8級,以8級為_。這里選用的濾料拒水性能達到4級,拒油性能達到5級,_時可達到7級。濾料型號為ZLN-DFS,其性能、技術參數見下表:
LMC袋收塵器在使用過程中發現部份濾袋破損總是出現在一個固定的方位。分折其原因是由于含塵氣體進入袋室內氣流分布不均(產生偏流現象)這些部位長期受集中氣流的沖刷致使濾袋破損。另一危害是用于立窯或冷卻機收塵時,含塵氣體中帶有火星顆粒把這些部位燒成小孔漏灰或嚴重的引起燒袋。 經過反復試驗,分析對比,我們在灰斗內增設氣流導向板及在上箱體進風處設置均流板,能夠擋住火星及粗顆粒沖刷,氣流均勻分布,延長了濾袋的使用壽命。 三、離線與在線 水泥廠袋收塵器中大多數采用離線操作方式。如反吹風袋收塵器,氣箱脈沖袋收塵器等。這種方式很容易實現“清灰-沉降-過濾”的三狀態清灰。對于高濃度粉塵,剝離性差的粘結粉塵較為適合。離線的另一優點在于它任一箱室可以在運行中與主機分離進行檢修,而不需停機。 采用離線方式要將袋收塵分成若干箱室,增加了出風管道切換閥門以及設備鋼耗。另一缺點是增加了故障及維護工作量。在離線清灰時,由于沒有逆向氣流支撐,噴吹力量很大,對箱室沖擊震動大,需考濾100%的荷載設計。這方面氣箱脈沖袋收塵器表現的比反吹風袋收塵器還要明顯。 在線操作的粉塵再附問題是一直研究的難題。但近年來由于清灰技術的進步也逐步得以解決。如何在這種方式下實現“三狀態”即“軟著陸”問題,河北華宇除塵公司已經有很好的解決辦法。 濾袋的清灰效果,“離線”與“在線”只是起一種鋪助作用,其決定因素還是清灰裝置本身。脈沖噴吹有足夠強的清灰強度,在線清灰可取得預期的效果。而在防燃、防爆的高濃度煤粉收集方面,建議采用離線較好。在過濾風速較低,粉塵剝離性較好的情況下,采用在線方式成本低,且管理簡單。 為適應各種粉塵清灰需要,LMC袋收塵器設計為在線與離線二種方式,擴大了應用領域。 |
||||||||||||||||||||||||||||||||||||||||||||||||||||||||||||||||||||||||||||||||||

冀公網安備13098102000524號